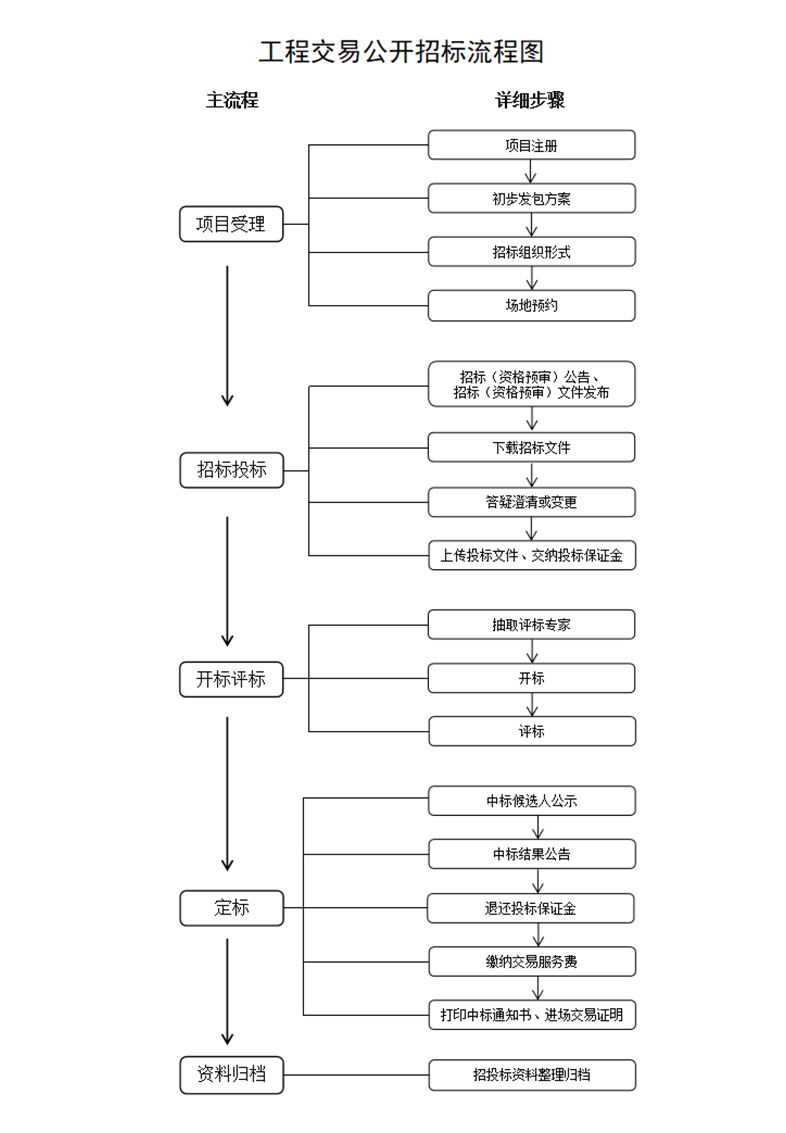
常州市工程交易公开招标交易指南
|
工作步骤 |
工作环节 |
具体事项及办理地点 |
办理时限 |
|
1 |
项目注册 |
招标人(或其委托的代理机构)根据立项批文或者备案证在交易平台填写项目注册相关内容。 |
即时办理 |
|
2 |
初步发包方案 |
招标人(或其委托的代理机构)在交易平台填写项目的初步发包方案(完整详细的标段划分及相应的发包内容)。 |
即时办理 |
|
3 |
招标组织形式 |
招标人(或其委托的代理机构)在交易平台填写自行招标或委托招标内容。 |
即时办理 |
|
4 |
场地预约 |
交易中心工作人员根据项目需求,在场地管理系统中统筹安排场地。 |
即时办理 |
|
5 |
招标公告、 招标文件发布 |
招标人(或其委托的代理机构)通过交易平台在指定的媒体上发布招标公告和招标文件;采用资格预审办法的,发布资格预审公告、资格预审文件。 |
工作日 12小时内 |
|
6 |
下载招标文件 |
潜在投标人在交易平台查看公告(或资格预审公告),下载招标文件(或资格预审文件)和图纸(如有)。 |
投标截止时间前 |
|
7 |
答疑澄清或变更 |
潜在投标人通过交易平台进行网上提问,招标人(或其委托的代理机构)通过交易平台进行回复,并发布澄清或变更公告。 |
按招标文件要求 |
|
8 |
上传投标文件、交纳投标保证金 |
投标人在交易平台上传投标文件,并按照招标文件要求交纳投标保证金,或办理投标保函。 |
投标截止时间前 |
|
9 |
抽取评标专家 |
招标人(或其委托的代理机构)在省综合评标专家库中提交评标专家抽取申请,工作人员确认无误后,系统自动随机抽取及语音通知。省综合评标专家库中缺乏相应的评标专家或者评标专家数量达不到随机抽取数量要求的,招标人可以自行邀请评标专家。 |
即时办理 |
|
10 |
开标 |
各投标人按照招标文件规定参与开标,招标人(或其委托的代理机构)依法按开标流程进行开标。 |
同实际开标时长 |
|
11 |
评标 |
评标委员会按照招标文件确定的评标标准和方法,对投标文件进行评审,评标完成后形成评标报告,并推荐合格的中标候选人。 |
同实际评标时长 |
|
12 |
中标候选人公示 |
招标人(或其委托的代理机构)根据评标报告,通过交易平台在指定的媒体上发布中标候选人公示。 |
即时办理 |
|
13 |
中标结果公告 |
公示期结束后,招标人(或其委托的代理机构)通过交易平台在指定的媒体上发布中标结果公告。 |
即时办理 |
|
14 |
退还投标保证金 |
非排名前三名的投标人的投标保证金(保函),在中标候选人公示无异议后五个工作日内退还(释放);排名前三名的中标候选人的保证金(保函),在招标人与中标人签订合同后五个工作日内退还(释放)。 |
按相关文件执行 |
|
15 |
缴纳交易服务费 |
建设单位和中标单位按标准缴纳交易服务费。 |
/ |
|
16 |
打印中标通知书、进场交易证明 |
招标人和中标人缴费完成后,在交易平台中签章、打印中标通知书,打印进场交易证明。 |
/ |
|
17 |
招投标资料 整理归档 |
招标人(或其委托的代理机构)根据档案资料整理规范,将招投标活动过程中的所有资料真实、完整、准确归档。 |
工作日 12小时内 |
